<li id="ggggg"></li>
  • <li id="ggggg"><tt id="ggggg"></tt></li>
  • 人民網
    人民網>>四川頻道>>綜合欄目>>新聞資訊

    解讀“青花椒”商標維權事件

    李平、彭茜、王洪江、趙祖樂、何皖鈺
    2021年12月29日22:23 | 來源:人民網-四川頻道
    小字號

    近日,四川多地餐館被上海萬翠堂餐飲管理有限公司(下稱“萬翠堂公司”)起訴侵權,理由是其在店名、菜名中使用了“青花椒”字樣,萬翠堂公司出于維權所需,要求賠償損失,這一事件引發社會熱議。12月26日,萬翠堂公司法定代表人發聲,表示將撤回全部訴訟。這場訴訟風波雖然告一段落,但帶給人們的疑問仍需要解答。

    鄒魚匠青花椒魚火鍋的門店招牌。受訪者供圖

    “青花椒”成為商標,我們還能不能用?

    青花椒作為四川傳統調料,在四川人日常生活中頗為常見。如果使用“青花椒”名稱可能違法,顯然與老百姓的一般判斷相悖。許多被訴商戶表示不解,用了這么多年的青花椒,怎么就犯法了?

    位于四川省成都市溫江區的鄒魚匠青花椒魚火鍋,就是被起訴的商戶之一!拔覀冊10月份收到的傳票,12月份判決書就下來了。很不理解,怎么會侵權?因為這本來就是四川地方的青花椒,又是四川的一個種植面積大、用量大的東西!崩习鍡钆空f,“后面雖然撤訴了,但還是很郁悶,畢竟他告了我們,我們也有損失,包括咨詢的錢、路費等!睏钆勘硎,目前四川知識產權保護中心已經介入幫助解決后續問題,但還沒有收到萬翠堂公司書面上的撤訴通知,自己很擔心這種事情會再次發生。

    雖然不是被起訴的商戶,但成都吃城都餐飲管理有限公司總經理袁先祥同樣很擔憂!拔覀儽旧碜龅木褪乔嗷ń肤~系列,我們主打的就是青花椒火鍋魚,這個事件讓我們感到些擔憂。商標在別人手里邊,未來這個商標能不能用,這是我非常關注的一個點。也許別人投入大量資金進入市場,現在突然不能用了,損失將無法挽回!痹认檎f,川菜里青花椒、紅花椒都很常見,以后紅花椒會不會有類似的風險呢?

    據了解,“花椒”主要分為紅花椒、青花椒兩大獨立品類,紅花椒已有2000多年的使用歷史,直到上個世紀九十年代,青花椒才走入大眾市場。作為川渝地區盛產且廣受歡迎的調味品,青花椒經過民間多年的發揚傳承,已成為川渝地區菜系中不可或缺的原材料之一。青花椒被注冊為商標,是否意味著川渝地區菜系將就此與這三個字告別?

    四川省市場監管局商標監管處相關負責人表示,鑒于青花椒是川菜重要佐料,餐飲商戶為體現其用料和經營特點,在其菜單菜名上或店招上使用了“青花椒”幾個字,如不是突出使用,則不構成侵權。按照《商標法》第11條、第57條、第59條的規定,使用“青花椒”是否或可能會造成混淆誤認,還要考慮注冊商標的知名度,即川菜商戶在菜單或店招上使用“青花椒”三字作為自己菜品特點或用料和經營特點介紹,不會使消費者誤認為是萬翠堂公司經營或許可經營。

    對于“青花椒”商標維權爭議案件,四川倫德律師事務所律師、高級合伙人李佳佳表示,萬翠堂公司以“青花椒”在餐飲服務業類目里注冊商標,具備顯著性,符合《商標法》的規定,其商標權應當予以保護。但是,享有商標權和商戶是否構成侵權,應一分為二地看待。一方面應鼓勵企業增強保護知識產權的意識;另一方面,如果商戶在合理范圍內使用“青花椒”字樣,其商品與萬翠堂公司商品不產生混淆,公眾也不會誤認與萬翠堂公司存在關聯,那么商戶就不構成侵權!拔覀兲岢Wo知識產權,但是應當遵循誠實信用原則,不提倡惡意維權、惡意訴訟!

    第三方機構代訴,所訴是否合理合法?

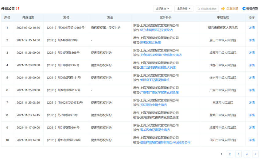
    據了解,上海萬翠堂餐飲管理有限公司成立于2013年6月24日,公司位于上海市徐匯區古美路1188號6A幢三層318室,法定代表人是左正飛。同時,在天眼查發現,萬翠堂公司從2020年9月10日到2021年12月21日有立案信息10條,其中被告有四川省成都市武侯區雙合園火鍋店、青羊區唐記青花火鍋店、雙流區盧三妹青花椒魚火鍋店等,案由基本都是侵害商標權糾紛。而在法律訴訟欄,案件大部分都被原告撤訴。

    上海萬翠堂餐飲管理有限公司在“天眼查”開庭公告信息截圖。

    日前,中國市場監管新聞網報道稱,面對被質疑涉嫌“碰瓷訴訟”、惡意訴訟,萬翠堂公司董事長左正飛表示,打擊惡意模仿、騙取加盟費的不良商家才是本意,而對非惡意使用“青花椒”字樣的店家的起訴,并非該公司的本意。所有訴訟均系第三方——正尚律和(北京)知識產權服務有限公司(以下簡稱正尚律和)發起。根據雙方約定,萬翠堂公司與正尚律和(北京)知識產權服務有限公司,簽訂了《知識產權維權服務框架合同》:以全風險代理的方式,代理甲方對侵犯其“青花椒”等注冊商標、專利、著作權等的知識產權訴訟及非訴訟維權業務。

    上海萬翠堂餐飲管理有限公司在“天眼查”立案信息截圖。

    左正飛表示,在辦理委托手續中,萬翠堂公司沒有做好審核,僅僅憑對方出具的“青花椒”三個字,就貿然蓋章,這確實是該公司管理的漏洞。

    12月24日,萬翠堂公司已經與正尚律和聯系,一是終止合作,二是要求他們全部撤訴,三是進一步溝通,是否存在過度維權,保留追究正尚律和法律責任的權利。

    連日來,多家媒體試圖聯系正尚律和,均未得到回復。根據央視財經12月27日報道,在正尚律和的注冊地北京四惠大廈,并沒有正尚律和這家企業。據大廈內工作人員介紹,該企業已經搬走了。

    據“天眼查”顯示,正尚律和經營范圍含法律咨詢,但不包括律師執業活動。此外,該企業已于 2021年11月1日被北京市朝陽區市場監督管理局列入了經營異常名錄,理由是該企業在“天眼查”中顯示為“高風險信息”。

    四川倫德律師事務所律師、高級合伙人李佳佳表示,根據《民事訴訟法》第五十八條規定,當事人、法定代理人可以委托一至二人作為訴訟代理人。

    下列人員可以被委托為訴訟代理人:

    (一)律師、基層法律服務工作者;

    (二)當事人的近親屬或者工作人員;

    (三)當事人所在社區、單位以及有關社會團體推薦的公民。

    在“青花椒”事件中,萬翠堂公司委托的第三方機構經營范圍不包括律師執業活動,其接受委托代理訴訟的行為是否符合《民事訴訟法》的程序性要求,存在疑問。

    另外,正尚律和在代為維權的過程中,對于哪些是惡意侵權,哪些是不構成侵權的商戶未作區分,而是采取“一網打盡”的方式,事實上并不利于商標權保護的良性發展。

    四川省社會科學院副研究員劉文帥認為,從法律層面看,整個事件就是商標權的一個侵權問題,商標權是知識產權的一種,知識產權是現代工業文明的產物,是為了保護和激勵創新、保護知識擁有者和創新者的利益而人為創設的一種無形的財產權。劉文帥表示,作為企業方利用商標法來維護自身的合法權益是合理的,對提升整個社會的知識產權保護意識也有積極作用。但企業維權應該合理有度,要尊重事實,應基于自身受到的實際損害,而不該濫用。四川的餐飲店鋪是否對萬翠堂公司的市場經營和利益產生了直接或間接的損害,這是很難說的,也很難提供有效證據。

    劉文帥說,正尚律和免費為萬翠堂公司維權,而維權所得歸事務所的行為,存在把維權本身當作企業經營活動的嫌疑!耙驗樯虾Hf翠堂餐飲管理有限公司的青花椒砂鍋魚主要經營地是在上海,四川的餐飲店招名字是否涉及真實侵權以及給其帶來實際損害值得探討,我們不主張這樣的維權,也不鼓勵類似的行為!

    如何規制惡意訴訟,防止重蹈覆轍?

    成都吃城都餐飲管理有限公司的門店。受訪者供圖

    截至目前,“青花椒”一案余波仍存!斑@件事情對我們也是一個警醒!背啥济朗澄幕惋媴f會常務副會長沈文華表示,四川餐飲一年1000多億元的運營,有上百萬的從事人員,而且絕大多數餐飲都要涉及青花椒。這本身就是個調味品,結果成了一個牟利的工具。該協會已發表聲明,希望從保護國家知識產權的角度出發,加強把關,不要讓一些以牟利為目的的商家鉆了空子。

    四川省火鍋協會執行會長嚴龍說,一些企業的法律意識、知識產權意識方面還比較欠缺!拔覀儗又R產權保護中心,保護這些商家的利益,還將聯合其他協會,為商戶提供法律援助!

    四川倫德律師事務所律師、高級合伙人李佳佳說,如果商戶今后遇到此類案件,建議向行業協會、行政主管部門申請救濟。行業協會和相關職能部門應積極組織雙方進行協商,平衡雙方利益,保護中小企業的合法權益。對于律師事務所接到此類案件委托時,會先行與原告進行溝通,促成雙方達成和解,最理想的結果就是讓原告主動向法院申請撤訴。如雙方無法達成和解一致,則需引導商戶準備證據材料,證明其行為不構成侵權,以維護其自身的合法權益。

    同時,四川省市場監管局還提醒經營者,應該從“潼關肉夾饃”“逍遙鎮胡辣湯”“青花椒”幾件事中看到商標對商戶生產經營的重要作用。它是區別商戶經營服務的標志,是商戶信譽的象征,并非可有可無。因此,必須要重視知識產權法律法規的學習。

    (責編:羅昱、薛育建)

    分享讓更多人看到

    返回頂部
    加勒比最新无码av免费资源